Трапы с вертикальным выпуском
Трапы из нержавеющей стали предназначены для локального сбора и отвода сточных вод на предприятиях пищевой промышленности, парфюмерной и фармацевтической промышленности, предприятиях общественного питания.
По сравнению с трапами, выполненными из другого материала (например чугун), нержавеющие имеют ряд преимуществ: стойки к агрессивным средам, долговечны, обладают высокой механической прочностью, пластичностью, не поддаются коррозии, имеют самоочищающийся эффект и высокую пропускную способность, отвечают санитарно-гигиеническим нормам.
В зависимости от условий применения трапы могут быть как с горизонтальным выпуском, так и с вертикальным различных диаметров.
Для предотвращения засорения канализационной сети, а также во избежание неприятного запаха из канализации, трапы комплектуются решетками, гидрозатворами и уловителями механических примесей (корзинами).
Трап мини с вертикальным выпуском DN 50 однокорпусной
| Усл. обозначение |
DN |
H |
h |
D |
W |
| Wm150/50V1 |
50 |
150 |
60 |
110 |
150х150 |
| Wm200/50V1 |
50 |
150 |
60 |
110 |
200х200 |
Трап мини с вертикальным выпуском DN 50 двухкорпусной
| Усл. обозначение |
DN |
Н |
h1 |
h |
D |
W |
| Wm150/50V2 |
50 |
140 |
90 |
50-130 |
137 |
150х150 |
| Wm200/50V2 |
50 |
140 |
60 |
50-130 |
137 |
200х200 |
Трап мини с вертикальным выпуском DN 100 однокорпусной
| Усл. обозначение |
DN |
H |
D |
W |
| Wm150/110V1 |
110 |
150 |
110 |
150х150 |
| Wm200/110V1 |
110 |
154 |
110 |
200х200 |
Трап мини с вертикальным выпуском DN 100 двухкорпусной
| Усл. обозначение |
DN |
Н |
h1 |
h |
D |
W |
| Wm150/110V2 |
110 |
140 |
80 |
50-130 |
137 |
150х150 |
| Wm200/110V2 |
110 |
140 |
80 |
50-130 |
137 |
200х200 |
Трап профессиональный с вертикальным выпуском DN110/160/200 однокорпусной
| Усл. обозначение |
DN |
H |
h1 |
D |
W |
| W200/110V1 |
110 |
194 |
90 |
157 |
200х200 |
| W250/110V1 |
110 |
234 |
90 |
193 |
250х250 |
| W300/160V1 |
160 |
244 |
90 |
255 |
300х300 |
| W400/200V1 |
200 |
354 |
90 |
348 |
400х400 |
Трап профессиональный с вертикальным выпуском dn 110/160/200 двухкорпусной
| Усл. обозначение |
DN |
Н |
h1 |
h2 |
D |
W |
| W200/110V2 |
110 |
160 |
90 |
50-120 |
157 |
200х200 |
| W250/110V2 |
110 |
200 |
90 |
50-160 |
193 |
250х250 |
| W300/160V2 |
160 |
210 |
90 |
50-160 |
255 |
300х300 |
| W400/200V2 |
200 |
320 |
90 |
50-160 |
348 |
400х400 |
Трап в квадратном корпусе с вертикальным выпуском DN50/110/160
- Материал: нержавеющая сталь марки AISI 304
- Нагрузка: от 500 до 2000 кг.
- Комплектность: корпус трапа, гидрозатвор, уловитель механических примесей (мусоросборник), покрытие (решетка)
- Установочные закладные в комплекте
| Тип трапа |
В (мм) |
С (мм) |
Н (мм) |
D (мм) |
L(мм) |
| TR. V50 |
140 |
180 |
135 |
50 |
50 |
| TR. V110 |
240 |
280 |
235 |
110 |
100 |
| TR. V160 |
340 |
380 |
320 |
160 |
100 |
Гидрозатвор
- предназначены для предотвращения выхода неприятного запаха из канализации
- поставляются с трапами с вертикальным выпуском 50, 110 и 160 мм
Гидрозатвор с уловителем механических примесей
- предназначены для предотвращения выхода неприятного запаха из канализации, а также препятствует засорению канализации
- поставляются с трапами с вертикальным выпуском 110 и 160 мм.
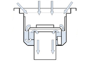
Принцип работы гидрозатвора/гидрозатвора с уловителем механических примесей
идравлический затвор (гидрозатвор, сифон) — обязательный элемент, которым должны быть оборудованы все без исключения приёмники сточных вод, установленные на канализационной сети. Принцип работы довольно прост: благодаря своей конструкции гидрозатвор поддерживает постоянный уровень воды, который надёжно закрывает выход газов.